同济环内〔2022〕42号
关于修订《同济大学环境科学与工程学院实验室安全管理工作规定》的通知
各单位:
《同济大学环境科学与工程学院实验室安全管理工作规定》经2022年11月17日-2022年11月23日公示无异议,2022年11月28日第38次学院党政联席会议讨论通过,同意修订。现予以发布,请遵照执行。
附件:同济大学环境科学与工程学院实验室安全管理工作规定
同济大学环境科学与工程学院
2022年11月28日
附件
同济大学环境科学与工程学院
实验室安全管理工作规定
第一章 总则
第一条 为保障学院及师生安全,确保学院教学、科研等工作的正常进行,根据《中华人民共和国安全生产法》《危险化学品安全管理条例》《上海市安全生产条例》《高等学校实验室工作规程》等国家有关法律法规,《同济大学实验室安全管理工作规定》及学院实验室安全工作实际,特制定本规定。
第二条 本规定中的“实验室”是指学院范围内开展教学、科研工作的各类实验场所,包括国家及省部级重点实验室、教学实验室、工程中心、教师科研实验室及实验室功能区内的办公室。
第三条 各实验室必须认真贯彻“安全第一、预防为主、综合治理”的方针,全面落实实验室安全工作和学校“实验室清洁卫生全覆盖、实验室安全培训教育全覆盖、实验室安全防护全覆盖、实验室安全巡查全覆盖”四项基本工作要求。
第二章 组织结构
第四条 学院实验室安全管理领导工作小组统筹负责相关安全工作。其中,书记、院长是实验室的第一安全责任人,并明确分管负责人为学院的安全责任人,院系其他负责人负有关心和重视学院实验室安全工作的相关责任,小组其他成员协助分管负责人负责日常的实验室安全管理工作,并负责学院各项实验室安全管理制度的建立与实施、各实验室安全工作的监督与检查以及学校相关实验室安全生产工作的落实。学生工作办公室和学生导师负有对学生进行安全教育的相关责任。
第五条 国家及省部级重点实验室主任、教学实验室主任、工程中心主任和科研实验室责任教授为所在实验室安全管理的直接责任人,对所在实验室安全管理工作全面负责。实验室安全员由直接责任人指定,且两者均须与学院签订实验室安全责任书。进入实验室工作的师生员工与直接责任人或安全员签订实验室安全责任书,确保实验室安全责任逐级落实到位。
第三章 运行要求
第六条 各实验室应根据学院实验室安全管理制度制定符合实验室研究方向特点的安全管理制度、自查值日、技术规范、操作规程、准入要求、安全事故应急预案等,注重实验室安全文化培育,落实实验室安全培训与准入、安全自查与整改工作。
第七条 实验室直接责任人要落实学校有关实验室安全规章制度,加强实验室危险源的管理,制定应急处置方法,定期组织实验室安全隐患的自查与应急演练等。
第八条 教学实验室须落实从事实验教学相关人员的安全培训与准入,使其具备实验过程中发现安全问题并快速、妥善处置的能力。督促实验教学教师将实验安全纳入教学内容,明确实验过程中的安全风险点与相应处置措施。进入实验室进行实验时,指导老师或实验员必须教育提醒学生注意安全,指导、监督学生进行实验规范操作,实验教学过程中不得脱离岗位。
第九条 科研实验室须落实参与实验的学生、教师、工作人员和相关来访人员的安全培训与准入要求,使其掌握本实验室涉及的危险源、安全操作规范及突发情况处置方法。落实本实验室相关的安全设施,如警示标识、防护用品、急救设施、安全用品等。
第十条 各实验室须将实验室安全工作与实验室的新建、改建、扩建同规划、同设计、同施工、同验收。各实验室要根据实验室的任务与研究方向特点,建立实验室安全的全生命周期管理体系和实验室安全物品的采购、储存、使用、处置等全流程安全监控制度。
第十一条 各实验室须对所开展的教学科研活动进行风险评估,工作流程参照附件1,实验方案风险评估样表参照附件2。实验室在开展新增实验项目前必须进行风险评估,明确安全隐患和应对措施,开展实验方案风险自评备案试点。在新建、改建、扩建实验室时,应当把安全风险评估作为建设立项的必要条件。
第十二条 各实验室须加强实验过程安全管理,学生在实验室开展实验,须有教师或实验室技术人员在场指导、监护并落实安全防护措施。研究生进行单独实验应由导师批准,并在实验过程中,加强巡视和指导。开展危险性实验时必须有两人及以上在场,节假日和夜间严禁开展危险性实验。
第十三条 各实验室须执行值日管理制度,直接责任人或安全员须布置实验室日常、法定节假日及寒、暑假的值日安排,并对值日工作做具体要求,值日记录整理归档、备查。寒、暑假值日安排须按照学校要求报学院实验室安全管理领导工作小组。
第十四条 原则上学院大楼夜间关闭时间严禁开展实验,若夜间延长实验须至少提前一天向实验室老师申请,直接责任人或实验室安全员审核并签字后,报学院实验室安全管理领导工作小组和物业备案,通宵实验须有两人在场。
第四章 安全培训准入
第十五条 各实验室要不断加强实验室安全的教育宣传工作,按照“全员、全程、全面”的要求,系统宣传学习与实验室相关的法律法规、相关标准和管理制度。
第十六条 实验室应进行安全教育培训。本科生、研究生开展实验之前,实验任课老师或课题组指导教师应对学生进行安全培训,告知实验安全风险及其防控措施。进入实验室学习工作的各类人员接受实验室安全教育培训,履行相应安全责任。
第十七条 实验室实行安全准入制度,各实验室直接责任人和安全员要认真开展实验室安全教育工作,落实对进入实验室工作人员实验室安全、应急安全教育。实验室工作人员须按照学校管理制度和《同济大学环境科学与工程学院实验室安全准入规定》完成准入,办理实验室准入证后方可进入实验室开展实验。
第五章 实验室危险源管理
第十八条 各实验室须加强对实验室危险化学品、生物、特种设备、消防等重大危险源的规范管理,对重大危险源的采购、运输、存储、使用、转移、处置等环节进行全过程管控,学院应建立重大危险源安全风险分布档案。
第十九条 学院、实验室应做好爆炸品、压缩气体和液化气体、易燃液体、易燃固体、自燃物品和遇湿易燃物品、氧化剂和有机过氧化物、毒害品和腐蚀品等列入《危险化学品目录》的危险化学品安全管理。各实验室要做好本实验室危化品的全生命周期管理和登记工作,包括危化品的申购、入库、储存、使用和危化品废弃物的处置等,以及使用人员安全教育培训工作。危化品的安全管理按照《同济大学危险化学品安全管理办法》《同济大学环境科学与工程学院危险化学品安全管理办法实施细则》执行。
第二十条 实验室生物安全管理按照《同济大学实验室生物安全管理办法》《同济大学环境科学与工程学院实验室生物安全管理办法》执行。
第二十一条 特种设备主要包括压力容器、气体钢瓶、压力管道等承压类特种设备和电梯等。各实验室要做好特种设备的全生命周期管理、规范使用,保持设备的完好状态。新申购的特种设备及时办理特种设备登记备案,落实操作人员持证上岗与定期检验制度。其中学院气体钢瓶和常用压力灭菌设备的管理按照《同济大学实验室特种设备安全管理办法》《同济大学环境科学与工程学院快开门式压力容器管理办法》执行。
第二十二条 各实验室须对高速运转设备、高温高压设备、超低温设备、连续运行设备、产生粉尘等场所,制定严格的安全操作规程并上墙,使用前对人员进行专业的培训并落实使用台账记录和防护措施。
第二十三条 各实验室须规范实验室用电、用水管理,按要求安装用电、用水设施和设备,定期对实验室的电源、水源等进行检查,排查安全隐患,落实整改措施。
第二十四条 各实验室须根据实验室场地功能、用途等不同情况,要配备适用足量的消防器材及设备,每月检查记录,及时更新保持良好状态。凡进入实验室工作的人员应了解本实验室内易燃易爆物品的消防知识,掌握本实验室适用的特殊消防器材的使用方法。实验室要保持消防通道的畅通。
第六章 个人防护和环境保护
第二十五条 各实验室须落实实验室安全个人防护工作。涉及个人防护的场所,制定严格的操作规程,配备防护用品,落实防护措施,并监督实验室人员按需佩戴个人防护用品。对处于有害的环境中工作的实验室人员发放劳保用品、防护用品,做好安全设施和用品的维护、保养、检修、更新等工作。
第二十六条 各实验室须按国家有关规定在实验教学、科学研究的过程中,要注意实验方案的无害、减害。减少实验室危废物的排放,保护环境。
第二十七条 各实验室须科学、规范地做好实验室废弃物的收集与暂存工作,严禁将实验室危险废物与生活垃圾混放。详细要求按照《同济大学环境科学与工程学院实验室废弃物管理办法》执行。
第七章 检查与整改
第二十八条 各实验室安全员须按照《环境学院实验室安全自查表》,每周对其管理的实验室至少组织一次自查并记录。每间实验室应设置管理员,有实验任务时每天按照《环境学院实验室安全自查表》进行检查并记录。发现安全隐患要及时采取措施进行整改,发现学生违反学院实验室安全规定情况,应及时制止并进行安全教育。发现严重安全隐患或一时无法解决的安全隐患,须向学院实验室安全管理领导工作小组报告,并采取措施积极整改。对发现的安全隐患,任何单位和个人不得隐瞒不报或拖延上报。
第二十九条 学院安全员每周对全院实验室进行至少一次安全巡查,将检查结果及时告知实验室相关人员,并在学院实验室管理平台开具限期整改通知单,督促其整改落实;学院实验室安全管理领导工作小组每月对全院实验室进行一次全面安全检查,检查中发现的违规问题及管理规范的实验室均记录归档,作为年度考核和奖惩的重要依据。
第三十条 学院每月对实验室安全检查情况进行发文通报,包括对管理规范的实验室进行表扬,对当月学院、学校及上级部门检查发现实验室及学生违反实验室安全规定、每周巡查多次发现安全隐患未进行整改的情况及当月实验室发生的安全事故进行通报批评,并督促相关实验室及个人积极整改。
第八章 应急预案与事故处置
第三十一条 实验室发生安全事故,应积极采取抢救措施,按照《同济大学突发事件应急预案》和实验室制定的应急预案妥善开展应急处置,防止危害扩大蔓延,并做好事故现场的保护与信息报送。在事故发生后按照突发事件上报流程及时将情况上报实验室安全员和学院实验室安全管理领导工作小组。
第三十二条 实验室人员应了解本实验室的进水阀门、电源及气路总管阀门的位置,以便发生事故时能迅速切断。各实验室的自来水阀门、配电板、煤气旋塞、管道衔接应保持完好、无泄漏、能随时投入使用。下水道应保持畅通,不漏水,如发现问题应及时报修。
第三十三条 实验室发生安全事故后,实验室应当配合学校及学院迅速查明事故原因,评估事故损失等,提出整改措施,形成事故调查报告及时报送学院办公室。对肇事者、实验室责任人和相关单位负责人的责任追究处罚,应分别予以明确。
第九章 管理考核和奖惩
第三十四条 学院根据每月检查情况对各实验室安全工作进行定期考核,对实验室安全管理工作优秀的实验室将予以表彰,并根据考核结果每年给予一定量的业绩补贴作为奖励。对于检查发现违规情况和安全隐患的实验室进行通报批评,并按照《同济大学环境科学与工程学院实验室安全管理违规行为处理办法》处置。
第三十五条 对于管理不到位,违反实验室安全规定造成不良影响、情节严重者,将按照学校有关规定追究责任人的责任;若涉及危害公共安全、生命健康,违反国家法律、法规、规章及学校相关安全管理办法和规定而造成事故的,视情节轻重按照规定给予处罚;构成犯罪的移交司法机关追究其刑事责任。
第十章 附则
第三十六条 本规定由学院实验室安全管理领导工作小组负责解释,自颁布之日起实施,原《环境科学与工程学院实验室安全管理工作规定》(同环发〔2019〕019号)同时废止。
附件:1.实验方案风险评估工作流程
2.实验方案风险评估样表
附件1
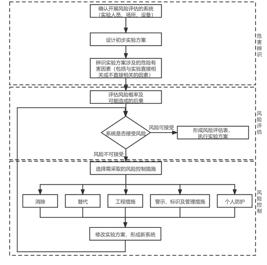
实验方案风险评估工作流程
依据《同济大学实验室安全管理规定》,学院实验室对所开展的教学科研活动进行风险评估。在开展具体实验前,实验室应开展实验方案风险评估。
实验方案风险评估的工作流程如下:
一、实验人员辨识与各类活动相关的可预见的危险,如化学、机械、电气、高温、低温、火灾、噪声、毒物、辐射等危险;或与各类活动不直接相关的可预见的危险,如实验室突然停电、停水、自然灾害等特殊状态下的安全。
二、评估风险概率和可能带来的负面影响。
三、确定系统是否能够接受风险。系统可以接受的风险为可接受风险,不然则为不可接受风险。
四、对不可接受风险采取控制措施。风险控制措施一般分为:消除;替代;工程措施;警示、标识及管理措施;个人防护等。
实验室同时填写《实验方案风险评估表》(见附件2),作为实验室安全准入的必要环节。实验室负责人要加强实验过程安全管理,强化安全培训和检查指导。
实验方案风险评估流程图

附件2
实验方案风险评估样表一
| 项目(第一)负责人姓名 |
|
手机号 |
|
| 科研项目名称/项目来源/起讫年月 |
|
| 开展科研工作的房间号 |
|
| 房间安全责任人 |
|
手机号 |
|
| 项目研究所需开展实验工作的安全分析报告 |
(项目实验安全分析报告包括以下三个方面,缺一不可。电子表格可直接撰写,纸质表格可以另加附页)1、项目实验内容和可能会出现的安全风险:2、阐明应采取的预防措施:3、紧急情况下的处置措施: |
| 在以下条款前□内画√:□我保证自身身体条件符合新冠肺炎疫情防控的各项要求。□我已经认真学习《同济大学实验室安全手册》,熟悉实验室各项管理制度和要求,通过了学校或学院的安全准入考试。□我已经了解项目实施所用实验室房间中可能会接触到的危险源种类、储存量、理化危险特性以及相关的应急处置措施,承诺进入实验室将严格遵守各项安全制度和操作规程。□我已掌握了所做实验可能会出现的安全风险、应采取的预防措施、紧急情况下的处置措施。□我已了解同一实验室其他人员的专业背景、目前开展实验的信息及可能出现的安全风险。□我愿意监督项目实施人员,保障项目风险可控;如因项目实施人员风险管控问题发生安全事故、造成人身伤害和财产损失,我愿意承担相应责任。项目负责人(签名): 年 月 日 |
| 学院分管科研的副院长意见:① 实验项目风险评估(必填):□无风险 □风险可控 □存在重大风险(不建议开展实验)② 是否同意项目执行(必填):□同意 □不同意学院分管负责人(签名): 年 月 日 |
| 学院分管实验室安全的副院长意见:是否批准项目实施:□批准 □不批准 学院分管负责人(签名): (公章) 年 月 日 |
注:本表一式三份,学院安全员、科研秘书、项目负责人各留存一份。